Wikipedia

Electrical system of the International Space Station

(redirected from Station-to-Shuttle Power Transfer System)
International Space Station solar array wing (Expedition 17 crew, August 2008).
An ISS solar panel intersecting Earth's horizon.

The electrical system of the International Space Station is a critical resource for the International Space Station (ISS) because it allows the crew to live comfortably, to safely operate the station, and to perform scientific experiments. The ISS electrical system uses solar cells to directly convert sunlight to electricity. Large numbers of cells are assembled in arrays to produce high power levels. This method of harnessing solar power is called photovoltaics.

The process of collecting sunlight, converting it to electricity, and managing and distributing this electricity builds up excess heat that can damage spacecraft equipment. This heat must be eliminated for reliable operation of the space station in orbit. The ISS power system uses radiators to dissipate the heat away from the spacecraft. The radiators are shaded from sunlight and aligned toward the cold void of deep space.

Solar array wing

Close-up view of folded solar array.
Damage to the 4B wing of the P6 solar array wing found when it was redeployed after being moved to its final position on the STS-120 mission.

Each ISS solar array wing (often abbreviated "SAW") consists of two retractable "blankets" of solar cells with a mast between them. Each wing uses nearly 33,000 solar cells and when fully extended is 35 metres (115 ft) in length and 12 metres (39 ft) wide.[1] When retracted, each wing folds into a solar array blanket box just 51 centimetres (20 in) high and 4.57 metres (15.0 ft) in length.[2] The ISS now has the full complement of eight solar array wings.[3] Altogether, the arrays can generate about 240 kilowatts in direct sunlight, or about 84 to 120 kilowatts average power (cycling between sunlight and shade).[4]

The solar arrays normally track the Sun, with the "alpha gimbal" used as the primary rotation to follow the Sun as the space station moves around the Earth, and the "beta gimbal" used to adjust for the angle of the space station's orbit to the ecliptic. Several different tracking modes are used in operations, ranging from full Sun-tracking, to the drag-reduction mode (night glider and Sun slicer modes), to a drag-maximization mode used to lower the altitude.

Batteries

Since the station is often not in direct sunlight, it relies on rechargeable nickel-hydrogen batteries to provide continuous power during the "eclipse" part of the orbit (35 minutes of every 90 minute orbit). The batteries ensure that the station is never without power to sustain life-support systems and experiments. During the sunlight part of the orbit, the batteries are recharged. The nickel-hydrogen batteries have a design life of 6.5 years which means that they must be replaced multiple times during the expected 30-year life of the station.[5] The batteries and the battery charge/discharge units are manufactured by Space Systems/Loral (SS/L),[6] under contract to Boeing.[7] N-H2 batteries on the P6 truss were replaced in 2009 and 2010 with more N-H2 batteries brought by Space Shuttle missions.[8] There are batteries in Trusses P6, S6, P4, and S4.[8]

Since 2017, nickel-hydrogen batteries are being replaced by lithium-ion batteries.[8] On January 6, a multi-hour EVA began the process of converting some of the oldest batteries on the ISS to the new lithium-ion batteries.[8] There is a number of differences between the two battery technologies, and one difference is that the lithium-ion batteries can handle twice the charge, so only half as many lithium-ion batteries are needed during replacement.[8] Also, the lithium-ion batteries are smaller than the older nickel-hydrogen batteries.[8] Although Li-Ion batteries typically have shorter lifetimes than Ni-H2 batteries as they cannot sustain as many charge/discharge cycles before suffering notable degradation, the ISS Li-Ion batteries have been designed for 60,000 cycles and ten years of lifetime, much longer than the original Ni-H2 batteries' design life span of 6.5 years.[8]

Power management and distribution

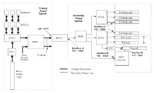
ISS Electrical Power Distribution

The power management and distribution subsystem operates at a primary bus voltage set to Vmp, the peak power point of the solar arrays. As of 30 December 2005, Vmp was 160 volts DC (direct current). It can change over time as the arrays degrade from ionizing radiation. Microprocessor-controlled switches control the distribution of primary power throughout the station.

The battery charge/discharge units (BCDUs) regulate the amount of charge put into the battery. Each BCDU can regulate discharge current from two battery ORUs (each with 38 series-connected Ni-H2 cells), and can provide up to 6.6 kW to the Space Station. During insolation, the BCDU provides charge current to the batteries and controls the amount of battery overcharge. Each day, the BCDU and batteries undergo sixteen charge/discharge cycles. The Space Station has 24 BCDUs, each weighing 100 kg.[6] The BCDUs are provided by SS/L[6]

Sequential shunt unit (SSU)

Eighty-two separate solar array strings feed a sequential shunt unit (SSU) that provides coarse voltage regulation at the desired Vmp. The SSU applies a "dummy" (resistive) load that increases as the station's load decreases (and vice versa) so the array operates at a constant voltage and load.[9] The SSUs are provided by SS/L.[6]

DC-to-DC conversion

DC-to-DC converter units supply the secondary power system at a constant 124.5 volts DC, allowing the primary bus voltage to track the peak power point of the solar arrays.

Thermal control

The thermal control system regulates the temperature of the main power distribution electronics and the batteries and associated control electronics. Details on this subsystem can be found in the article External Active Thermal Control System.

Station to shuttle power transfer system

The Station-to-Shuttle Power Transfer System (SSPTS; pronounced spits) allowed a docked Space Shuttle to make use of power provided by the International Space Station's solar arrays. Use of this system reduced usage of a shuttle's on-board power-generating fuel cells, allowing it to stay docked to the space station for an additional four days.[10]

SSPTS was a shuttle upgrade that replaced the Assembly Power Converter Unit (APCU) with a new device called the Power Transfer Unit (PTU). The APCU had the capacity to convert shuttle 28 VDC main bus power to 124 VDC compatible with ISS's 120 VDC power system. This was used in the initial construction of the space station to augment the power available from the Russian Zvezda service module. The PTU adds to this the capability to convert the 120 VDC supplied by the ISS to the orbiter's 28 VDC main bus power. It is capable of transferring up to 8 kW of power from the space station to the orbiter. With this upgrade both the shuttle and the ISS were able to use each other's power systems when needed, though the ISS never again required the use of an orbiter's power systems.

During mission STS-116, PMA-2 (then at the forward end of the Destiny module) was rewired to allow for the use of the SSPTS.[11] The first mission to make actual use of the system was STS-118 with Space Shuttle Endeavour.[12]

Only Discovery and Endeavour were equipped with the SSPTS. Atlantis was the only shuttle not equipped with the SSPTS, so could only go on shorter length missions than the rest of the fleet.[13]

References

  1. ^ "Spread Your Wings, It's Time to Fly". NASA. July 26, 2006.
  2. ^ "STS-97: Photovoltaic array assembly". NASA. November 9, 2000. Archived from the original on January 23, 2001.
  3. ^ "International Space Station – Solar Power". Boeing.
  4. ^ Wright, Jerry. "Solar Arrays". NASA. Retrieved 2016-03-23.
  5. ^ "Nickel-Hydrogen Battery Cell Life for International Space Station". NASA. Archived from the original on 2009-08-25.
  6. ^ a b c d "International Space Station" (PDF). Space Systems Loral. February 1998. Archived from the original (PDF) on December 27, 2014.
  7. ^ "Space Systems/Loral awarded $103 million contract to build critical power systems for the International Space Station" (Press release). Loral. July 8, 2003. Archived from the original on September 28, 2007.
  8. ^ a b c d e f g "EVA-39: Spacewalkers complete the upgrading of ISS batteries". January 13, 2017. Retrieved July 13, 2020.
  9. ^ "Options Studied for Managing Space Station Solar Array Electrical Hazards for Sequential Shunt Unit Replacement". NASA. Archived from the original on 2006-10-08.
  10. ^ "STS-118 crew interview, Station to Shuttle Power System". space.com.
  11. ^ "Aft flight deck payloads switch list for handover". Ascent Checklist STS-116 (PDF). Mission Operations Directorate Flight Design and Dynamics Division. October 19, 2006. p. 174.
  12. ^ "STS-118 MCC Status Report #05". NASA. August 10, 2007.
  13. ^ Gebhardt, Chris (November 16, 2009). "Fuel Cell 2 issue cleared – Atlantis in perfect launch". NASAspaceflight.com.

External links

This article is copied from an article on Wikipedia® - the free encyclopedia created and edited by its online user community. The text was not checked or edited by anyone on our staff. Although the vast majority of Wikipedia® encyclopedia articles provide accurate and timely information, please do not assume the accuracy of any particular article. This article is distributed under the terms of GNU Free Documentation License.

Copyright © 2003-2025 Farlex, Inc Disclaimer
All content on this website, including dictionary, thesaurus, literature, geography, and other reference data is for informational purposes only. This information should not be considered complete, up to date, and is not intended to be used in place of a visit, consultation, or advice of a legal, medical, or any other professional.