Wikipedia

Lock (water navigation)

Also found in: Dictionary, Financial.
(redirected from Drop lock)
Canal lock and lock-keeper's cottage on the Aylesbury Arm of the Grand Union Canal at Marsworth in Hertfordshire, England
Lock on the River Neckar at Heidelberg in Germany
Three Gorges Dam lock near Yichang on Yangtze river, China
A gate in the Hatton flight in England

A lock is a device used for raising and lowering boats, ships and other watercraft between stretches of water of different levels on river and canal waterways. The distinguishing feature of a lock is a fixed chamber in which the water level can be varied; whereas in a caisson lock, a boat lift, or on a canal inclined plane, it is the chamber itself (usually then called a caisson) that rises and falls.

Locks are used to make a river more easily navigable, or to allow a canal to cross land that is not level. Later canals used more and larger locks to allow a more direct route to be taken.

Since 2016, the largest lock worldwide is the Kieldrecht Lock in the Port of Antwerp, Belgium.

Pound lock

A pound lock on the Keitele–Päijänne Canal at Äänekoski in Central Finland

A pound lock is a type of lock that is used almost exclusively nowadays on canals and rivers. A pound lock has a chamber with gates at both ends that control the level of water in the pound. In contrast, an earlier design with a single gate was known as a flash lock.

Pound locks were first used in China during the Song Dynasty (960–1279 AD), having been pioneered by the Song politician and naval engineer Qiao Weiyue in 984.[1] They replaced earlier double slipways that had caused trouble and are mentioned by the Chinese polymath Shen Kuo (1031–1095) in his book Dream Pool Essays (published in 1088),[2] and fully described in the Chinese historical text Song Shi (compiled in 1345):[3]

The distance between the two locks was rather more than 50 paces, and the whole space was covered with a great roof like a shed. The gates were 'hanging gates'; when they were closed the water accumulated like a tide until the required level was reached, and then when the time came it was allowed to flow out.

The water level could differ by 4 feet (1.2 m) or 5 feet (1.5 m) at each lock and in the Grand Canal the level was raised in this way by 138 feet (42 m).[3]

In medieval Europe a sort of pound lock was built in 1373 at Vreeswijk, Netherlands.[4] This pound lock serviced many ships at once in a large basin. Yet the first true pound lock was built in 1396 at Damme near Bruges, Belgium.[4] The Italian Bertola da Novate (c. 1410–1475) constructed 18 pound locks on the Naviglio di Bereguardo (part of the Milan canal system sponsored by Francesco Sforza) between 1452 and 1458.[5]

Use in river navigation

Locks on the Rideau Canal, Entrance Valley, near Parliament Hill, Ottawa, Canada

When a stretch of river is made navigable, a lock is sometimes required to bypass an obstruction such as a rapid, dam, or mill weir – because of the change in river level across the obstacle.

In large scale river navigation improvements, weirs and locks are used together. A weir will increase the depth of a shallow stretch, and the required lock will either be built in a gap in the weir, or at the downstream end of an artificial cut which bypasses the weir and perhaps a shallow stretch of river below it. A river improved by these means is often called a Waterway or River Navigation (see example Calder and Hebble Navigation).

Sometimes a river is made entirely non-tidal by constructing a sea lock directly into the estuary.

In more advanced river navigations, more locks are required.

  • Where a longer cut bypasses a circuitous stretch of river, the upstream end of the cut will often be protected by a flood lock.
  • The longer the cut, the greater the difference in river level between start and end of the cut, so that a very long cut will need additional locks along its length. At this point, the cut is, in effect, a canal.

Use in canals

Locks of the Panama Canal during construction, 1913.

Early completely artificial canals, across fairly flat countryside, would get round a small hill or depression by simply detouring (contouring) around it. As engineers became more ambitious in the types of country they felt they could overcome, locks became essential to effect the necessary changes in water level without detours that would be completely uneconomic both in building costs and journey time. Later still, as construction techniques improved, engineers became more willing to cut directly through and across obstacles by constructing long tunnels, cuttings, aqueducts or embankments, or to construct even more technical devices such as inclined planes or boat lifts. However, locks continued to be built to supplement these solutions, and are an essential part of even the most modern navigable waterways.

Basic construction and operation

A plan and side view of a generic, empty canal lock. A lock chamber separated from the rest of the canal by an upper pair and a lower pair of mitre gates. The gates in each pair close against each other at an 18° angle to approximate an arch against the water pressure on the "upstream" side of the gates when the water level on the "downstream" side is lower.
Principle of operation of a pound lock
For a boat going upstream: Pound lock sequence.svg For a boat going downstream:
1–2. The boat enters the lock. 8–9. The boat enters the lock.
3. The lower gates are closed. 10. The upper gates are closed.
4–5. The lock is filled with water from upstream. 11–12. The lock is emptied by draining its water downstream.
6. The upper gates are opened. 13. The lower gates are opened.
7. The boat exits the lock. 14. The boat exits the lock.

All pound locks have three elements:

  • A watertight chamber connecting the upper and lower canals, and large enough to enclose one or more boats. The position of the chamber is fixed, but its water level can vary.
  • A gate (often a pair of "pointing" half-gates) at each end of the chamber. A gate is opened to allow a boat to enter or leave the chamber; when closed, the gate is watertight.
  • A set of lock gear to empty or fill the chamber as required. This is usually a simple valve (traditionally, a flat panel (paddle) lifted by manually winding a rack and pinion mechanism) which allows water to drain into or out of the chamber; larger locks may use pumps.

The principle of operating a lock is simple. For instance, if a boat travelling downstream finds the lock already full of water:

  • The entrance gates are opened and the boat moves in.
  • The entrance gates are closed.
  • A valve is opened, this lowers the boat by draining water from the chamber.
  • The exit gates are opened and the boat moves out.

If the lock were empty, the boat would have had to wait 5 to 10 minutes while the lock was filled. For a boat travelling upstream, the process is reversed; the boat enters the empty lock, and then the chamber is filled by opening a valve that allows water to enter the chamber from the upper level. The whole operation will usually take between 10 and 20 minutes, depending on the size of the lock and whether the water in the lock was originally set at the boat's level.

Boaters approaching a lock are usually pleased to meet another boat coming towards them, because this boat will have just exited the lock on their level and therefore set the lock in their favour – saving about 5 to 10 minutes. However, this is not true for staircase locks, where it is quicker for boats to go through in convoy.

Operation of a canal lock
1–3. Boat enters 'empty' lock
4. Bottom gates are closed, bottom paddles closed, top paddles opened, lock starts to fill
5. Lock is filling with water, lifting boat to the higher level

Details and terminology

A drained lock chamber

For simplicity, this section describes a basic type of lock, with a pair of gates at each end of the chamber and simple rack and pinion paddles raised manually by means of a detachable windlass operated by lock-keepers or the boat's shore crew. This type can be found all over the world, but the terminology here is that used on the British canals. A subsequent section explains common variations.

Rise

The rise is the change in water-level in the lock. The two deepest locks on the English canal system are Bath deep lock[6][7] on the Kennet and Avon Canal and Tuel Lane Lock on the Rochdale Canal, which both have a rise of nearly 20 feet (6.1 m). Both locks are amalgamations of two separate locks, which were combined when the canals were restored to accommodate changes in road crossings. The deepest "as-built" locks in England are considered to be Etruria Top Lock on the Trent and Mersey Canal and Somerton Deep Lock on the Oxford Canal: both have a rise of about 14 ft (4.3 m). Again, sources vary as to which is the deepest, and in any case Etruria has been deepened over the years to accommodate subsidence. By comparison, the Carrapatelo and Valeira locks on the Douro river in Portugal, which are 279 feet (85 m) long and 39 feet (12 m) wide, have maximum lifts of 115 feet (35 m) and 108 feet (33 m) respectively.[8] The two Ardnacrusha locks near Limerick on the Shannon navigation in Ireland have a rise of 100 feet (30 m). The upper chamber rises 60 feet (18 m) and is connected to the lower chamber by a tunnel, which when descending does not become visible until the chamber is nearly empty.[9]

Pound

A pound is the level stretch of water between two locks (also known as a reach).[10] On American canals, a pound is called a level.

Chamber

The chamber of the 35 m lock at Carrapatelo Dam in Portugal

The chamber is the main feature of a lock. It is a watertight (masonry, brick, steel or concrete) enclosure which can be sealed off from the pounds at both ends by means of gates. The chamber may be the same size (plus a little manoeuvring room) as the largest vessel for which the waterway was designed; sometimes larger, to allow more than one such vessel at a time to use the lock. The chamber is said to be "full" when the water level is the same as in the upper pound; and "empty" when the level is the same as in the lower pound. (If the lock has no water in it at all, perhaps for maintenance work, it might also be said to be empty, but it is more usually described as "drained" or "de-watered".)

Cill

The cill, also spelled sill, is a narrow horizontal ledge protruding a short way into the chamber from below the upper gates. Allowing the rear of the boat to "hang" on the cill is the main danger when descending a lock, and the position of the forward edge of the cill is usually marked on the lock side by a white line. The edge of the cill is usually curved, protruding less in the center than at the edges. In some locks, there is a piece of oak about 9 in (23 cm) thick which protects the solid part of the lock cill. On the Oxford Canal it is called a babbie; on the Grand Union Canal it is referred to as the cill bumper. Some canal operation authorities, primarily in the United States and Canada, call the ledge a miter sill (mitre sill in Canada).[11]

Photo gallery

Gates

Gates are the watertight doors which seal off the chamber from the upper and lower pounds. Each end of the chamber is equipped with a gate, or pair of half-gates, made of oak or elm (or now sometimes steel). The most common arrangement, usually called miter gates, was invented by Leonardo da Vinci sometime around the late 15th century.[12] When closed, a pair meet at an angle like a chevron pointing upstream and only a very small difference in water-level is necessary to squeeze the closed gates securely together. This reduces any leaks from between them and prevents their being opened until water levels have equalised. If the chamber is not full, the top gate is secure; and if the chamber is not completely empty, the bottom gate is secure (in normal operation, therefore, the chamber cannot be open at both ends). A lower gate is taller than an upper gate, because the upper gate only has to be tall enough to close off the upper pound, while the lower gate has to be able to seal off a full chamber. The upper gate is as tall as the canal is deep, plus a little more for the balance beam, winding mechanism, etc.; the lower gate's height equals the upper gate plus the lock's rise.

Balance beam

A balance beam is the long arm projecting from the landward side of the gate over the towpath. As well as providing leverage to open and close the heavy gate, the beam also balances the (non-floating) weight of the gate in its socket, and so allows the gate to swing more freely.

Paddle

A paddle – sometimes known as a slacker, clough, or (in American English) wicket – is the simple valve by which the lock chamber is filled or emptied. The paddle itself is a sliding wooden (or nowadays plastic) panel which when "lifted" (slid up) out of the way allows water to either enter the chamber from the upper pound or flow out to the lower pound. A gate paddle simply covers a hole in the lower part of a gate; a more sophisticated ground paddle blocks an underground culvert. There can be up to 8 paddles (two gate paddles and two ground paddles at both upper and lower ends of the chamber) but there will often be fewer. For a long period since the 1970s it was British Waterways policy not to provide gate paddles in replacement top gates if two ground paddles existed. The reason for this was given as safety, since it is possible for an ascending boat to be swamped by the water from a carelessly lifted gate paddle. However, without the gate paddles the locks are slower to operate and this has been blamed in some places for causing congestion. Since the late 1990s the preferred method has been to retain or re-install the gate paddles and fit 'baffles' across them to minimise the risk of inundation.

On the old Erie Canal, there was a danger of injury when operating the paddles: water, on reaching a certain position, would push the paddles with a force which could tear the windlass (or handle) out of one's hands, or if one was standing in the wrong place, could knock one into the canal, leading to injuries and drownings.[13]

Winding gear or paddle gear

Winding gear is the mechanism which allows paddles to be lifted (opened) or lowered (closed). Typically, a square-section stub emerges from the housing of the winding gear. This is the axle of a sprocket ("pinion") which engages with a toothed bar ("rack") attached by rodding to the top of the paddle. A lock-keeper or member of the boat's shore crew engages the square socket of their windlass (see below) onto the end of the axle and turns the windlass perhaps a dozen times. This rotates the pinion and lifts the paddle. A pawl engages with the rack to prevent the paddle from dropping inadvertently while being raised, and to keep it raised when the windlass is removed, so that the operator can attend to other paddles. Nowadays it is considered discourteous and wasteful of water to leave a paddle open after a boat has left the lock, but in commercial days it was normal practice. To lower a paddle the pawl must be disengaged and the paddle wound down with the windlass. Dropping paddles by knocking the pawl off can cause damage to the mechanism; the paddle gear is typically made of cast iron and can shatter or crack when dropped from a height. In areas where water-wastage due to vandalism is a problem, (for example the Birmingham Canal Navigations), paddle mechanisms are commonly fitted with vandal-proof locks (nowadays rebranded "water conservation devices") which require the boater to employ a key before the paddle can be lifted. The keys are officially known as "water conservation keys", but boaters usually refer to them as T-keys, from their shape; handcuff keys because the original locks, fitted on the Leeds and Liverpool Canal, resembled handcuffs; Leeds and Liverpool Keys after that canal; or simply Anti-Vandal Keys.

Hydraulic paddle gear

During the 1980s, British Waterways began to introduce a hydraulic system for operating paddles, especially those on bottom gates, which are the heaviest to operate. A metal cylinder about a foot in diameter was mounted on the balance beam and contained a small oil-operated hydraulic pump. A spindle protruded from the front face and was operated by a windlass in the usual way, the energy being transferred to the actual paddle by small bore pipes. The system was widely installed and on some canals it became very common. There turned out to be two serious drawbacks. It was much more expensive to install and maintain than traditional gear and went wrong more frequently, especially once vandals learned to cut the pipes. Even worse, it had a safety defect, in that the paddle once in the raised position could not be dropped in an emergency, but had to be wound down, taking a good deal longer. These factors led to the abandonment of the policy in the late 1990s, but examples of it survive all over the system, as it is usually not removed until the gates need replacing, which happens about every twenty years.

Windlass ("lock key")

Collection of lock windlasses. Note: rakes are for clearing trash out of the lock.

A windlass (also variously 'lock handle', 'iron' or simply 'key') is a detachable crank used for opening lock paddles (the word does not refer to the winding mechanism itself).

The simplest windlass is made from an iron rod of circular section, about half an inch in diameter and two feet long, bent to make an L-shape with legs of slightly different length. The shorter leg is called the handle, and the longer leg is called the arm. Welded to the end of the arm is a square, sometimes tapered, socket of the correct size to fit onto the spindle protruding from lock winding gear.

  • Socket: Traditionally, windlasses had a single socket, designed for a particular canal. When undertaking a journey through several canals with different lock-gear spindle sizes it was necessary to carry several different windlasses. A modern windlass usually has two sockets for use on different canals: the smaller is for the British Waterways standard spindle, fitted in the early 1990s almost everywhere, the larger for the gear on the Grand Union Canal north of Napton Junction, which they were unable/unwilling to convert.
  • Handle: The handle is long enough for a two-handed grip and is far enough from the socket to give enough leverage to wind the paddle up or down. There may be a freely rotating sleeve around the handle to protect the hands from the friction of rough iron against skin.
  • Arm: A "long throw" windlass has a longer arm so that the handle is further from the socket to give a greater leverage on stiffer paddles. If the throw is too long then the user, winding a gate paddle, risks barking their knuckles against the balance beam when the handle is at the lowest point of its arc. A sophisticated modern windlass may have an adjustable-length arm.
  • Materials: Early windlasses were individually hand forged from a single piece of wrought iron by a blacksmith. More modern techniques include casting of iron or bronze, drop forging and (the most common technique) welding. Some boatmen had their windlasses 'silvered' (or chrome plated) for increased comfort and to prevent rusting. Windlasses are now only rarely plated, but a popular modern choice of metal is aluminium, whose smooth and rustproof surface has the same advantages of longevity and blister-reduction, and is also very light. One type of these, the Dunton Double, has only a single eye, but by clever tapering it will operate either size of spindle.

On the Chesapeake and Ohio Canal, the lockkeepers were required to remove the windlasses from all lock paddles at night, to prevent unauthorized use.[14]

"Turning" a lock

"Turning" a lock can simply mean emptying a full lock, or filling an empty one ("We entered the lock, and it only took us five minutes to turn it"). It is used more often to refer to a lock being filled or emptied for the benefit of someone else ("The lock was turned for us by a boat coming the other way") and sometimes the opposite ("The lock was set for us, but the crew of the boat coming the other way turned it before we got there").

Swell or swelling

A swell was caused by opening suddenly the paddle valves in the lock gates, or when emptying a lock.[15] To help boats leave (downstream) a lock, the locksman would sometimes open the paddles to create a swell, which would help "flush" the boat out of the lock. In one case, a boatsman asked for a back swell, that is, open and shut the paddles a few times to create some waves, to help him get off the bank where he was stuck.[16] If boats ran aground (from being overloaded) they sometimes asked passing crews to tell the upstream lock to give them an extra heavy swell, which consisted of opening all the paddles on the lock gate, creating a surge that affected the whole pound below.[17]

On the Erie Canal, some loaded boats needed a swell to get out of the lock, particularly lumber boats, being top heavy, would list to one side and get stuck in the lock, and needed a swell to get them out. Some lockkeepers would give a swell to anyone to help them on the way, but some would ask for money for the swell.[15]

The Erie Canal management did not like swelling for two reasons. First, it used too much water lowering the water on the pound above sometimes causing boats to run aground. In addition, it raised the water level on the pound below causing some boats to strike bridges or get stuck.[15]

"Lock mooring"

"Lock mooring" was a commonly used method of navigating into a lock by a barge travelling upstream. The barge would be directed to the slack water to one side of the lock gates and as the volume of water decreased as the lock emptied the barge or boat is effectively sucked out of the slack water into the path of the lock gates. The effort required to navigate the barge or boat into the mouth of the lock was therefore substantially reduced.

Snubbing posts

Snubbing a boat to keep it from hitting the downstream gates. Note the rope wrapped around the snubbing post.

On horse-drawn and mule-drawn canals, snubbing posts were used to slow or stop a boat in the lock. A 200-ton boat moving at a few miles an hour could destroy the lock gate. To prevent this, a rope was wound around the snubbing post as the boat entered the lock. Pulling on the rope slowed the boat, due to the friction of the rope against the post.[18] A rope 2½ inches (6.3 cm) in diameter and about 60 feet (18 meters) long was typically used on the Erie Canal to snub a boat in a lock.[19]

One incident, which took place in June 1873 on the Chesapeake and Ohio Canal, involved the boat the Henry C. Flagg and its drunk captain. That boat was already leaking; the crew, having partially pumped the water out, entered Lock 74, moving in front of another boat. Because they failed to snub the boat, it crashed into and knocked out the downstream gates. The outrush of water from the lock caused the upstream gates to slam shut, breaking them also, and sending a cascade of water over the boat, sinking it. This suspended navigation on the canal for 48 hours until the lock gates could be replaced and the boat removed from the lock.[20]

Variations

Variations exist for types of locks and the terminology used for them.

Single gates

Single gates are often installed on narrow canals (locks approx. 7 feet or 2.1 metres wide).

On most English narrow canals, the upper end of the chamber is closed by a single gate the full width of the lock. This was cheaper to construct and is quicker to operate with a small crew, as only one gate needs to be opened. These were often fitted with a post allowing a rope to be used to stop the boat and close the gate at the same time.

Some narrow locks (e.g. on Birmingham Canal Navigations) go even further. They have single gates at the lower end also. This speeds up passage, even though single lower gates are heavy (heavier than a single upper gate, because the lower gate is taller) and the lock has to be longer (a lower gate opens INTO the lock, it has to pass the bow or stern of an enclosed boat, and a single gate has a wider arc than two half-gates).

Steel gates

Steel gates and/or balance beams are frequently used nowadays, although all-wooden versions are still fitted where appropriate.

  • Swinging gates. Even very large steel-gated locks still can use essentially the same swinging gate design as small 250-year-old locks on the English canals. On English canals, steel gates usually have wooden mitre posts as this gives a better seal.
  • Sliding gates. Some low-head locks use sliding steel gates (see Kiel Canal). The sliding gates of the Nieuwe Meersluis in Amsterdam double as roadways.
  • Caisson gates. A kind of sliding gate that is hollow and can float. It can be constructed to withstand high heads.
  • Guillotine gates. Some locks have vertically moving steel gates – these are quite common on river navigations in East Anglia. Sometimes just one of the pairs of swinging gates is replaced by a guillotine: for instance at Salterhebble Locks, where space to swing the balance beams of bottom gates of the lowest lock was restricted by bridge widening. On the River Nene most locks have this arrangement as in time of flood the top mitre gates are chained open and the bottom guillotines lifted so that the lock chamber acts as an overflow sluice. Guillotine gates are also used on the downstream side of larger locks such as the 23m Bollène lock on the River Rhône, the aperture being large enough for a boat to travel under it.
  • Vertically rotating gates (American usage: Drop gates)
    Example of a lock with a drop gate (Lock 10) on the Chesapeake and Ohio Canal
    are gates which, when open, lie flat on the canal bed and which close by lifting (London Flood Barrier). Some of these were installed on the Chesapeake and Ohio Canal in the congested 7 Locks area since they could be operated by one man and also could speed up traffic.
  • Rotating-sector gates. Some of these work very like traditional swinging gates, but with each gate in the form of a sector of a cylinder. They close by rotating out from the lock wall and meeting in the centre of the chamber. Water is let in or out by opening the gates slightly: there may be no paddles or other lock gear. The lock at Limehouse Basin, which gives access to the River Thames, is an example. A dramatically large one can be seen at the Maeslantkering (huge flood gates) near Rotterdam. There is a different type at the sea lock on the Ribble Link: this is a rising sector gate, which has a horizontal axis: the gate drops to the bed of the river to allow boats to pass.

Different paddle gear

Some manually operated paddles do not require a detachable handle (windlass) because they have their handles ready-attached.

On the Leeds and Liverpool Canal there is a variety of different lock gear. Some paddles are raised by turning what is in effect a large horizontal wing nut (butterfly nut) lifting a screw-threaded bar attached to the top of the paddle. Others are operated by lifting a long wooden lever, which operates a wooden plate which seals the culvert. These are known locally as "jack cloughs". Bottom gate paddles are sometimes operated by a horizontal ratchet which also slides a wooden plate sideways, rather than the more common vertical lift. Many of these idiosyncratic paddles have been "modernised" and they are becoming rare.

On the Calder and Hebble Navigation, some paddle gear is operated by repeatedly inserting a Calder and Hebble Handspike (length of 4" by 2" hardwood) into a ground-level slotted wheel and pushing down on the handspike to rotate the wheel on its horizontal axis.

On some parts of the Montgomery Canal bottom paddles are used in place of side paddles. Rather than passing into the lock through a culvert around the side of the lock gate, the water flows through a culvert in the bottom of the canal. The paddle slides horizontally over the culvert.

Composite locks

To economise, especially where good stone would be prohibitively expensive or difficult to obtain, composite locks were made, i.e. they were constructed using rubble or inferior stone, dressing the inside walls of the lock with wood, so as not to abrade the boats. This was done, for instance, on the Chesapeake and Ohio Canal with the locks near the Paw Paw Tunnel[21] and also the Chenango Canal[22] Because the wood would swell (making the lock space smaller) or rot away, the wood was often replaced by concrete.

Lock keepers

Some locks are operated (or at least supervised) by professional or volunteer lock keepers. This is particularly true on commercial waterways, or where locks are large or have complicated features that the average leisure boater may not be able to operate successfully. For instance, although the Thames above Teddington (England) is almost entirely a leisure waterway, the locks are usually staffed. Only recently have boaters been allowed limited access to the hydraulic gear to operate the locks when the keeper is not present.

Powered operation

On large modern canals, especially very large ones such as ship canals, the gates and paddles are too large to be hand operated, and are operated by hydraulic or electrical equipment. On the Caledonian Canal the lock gates were operated by man-powered capstans, one connected by chains to open the gate and another to draw it closed. By 1968 these had been replaced by hydraulic power acting through steel rams.[23] Even on smaller canals, some gates and paddles are electrically operated, particularly if the lock is regularly staffed by professional lock keepers. On the River Thames below Oxford all the locks are staffed and powered. Powered locks are usually still filled by gravity, though some very large locks use pumps to speed things up.

Fish ladders

The construction of locks (or weirs and dams) on rivers obstructs the passage of fish. Some fish such as lampreys, trout and salmon go upstream to spawn. Measures such as a fish ladder are often taken to counteract this. Navigation locks have also potential to be operated as fishways to provide increased access for a range of biota.[24]

Weigh lock

A weigh lock on the Lehigh canal

A weigh lock is a specialized canal lock designed to determine the weight of barges to assess toll payments based upon the weight and value of the cargo carried. The Erie Canal had weigh locks in Rochester, Syracuse, and West Troy New York. The Lehigh Canal also had weigh locks (see photo on right).

Special cases

Lock flights

The flight of 16 locks at Caen Hill on the Kennet and Avon Canal

Loosely, a flight of locks is simply a series of locks in close-enough proximity to be identified as a single group. For many reasons, a flight of locks is preferable to the same number of locks spread more widely: crews are put ashore and picked up once, rather than multiple times; transition involves a concentrated burst of effort, rather than a continually interrupted journey; a lock keeper may be stationed to help crews through the flight quickly; and where water is in short supply, a single pump can recycle water to the top of the whole flight. The need for a flight may be determined purely by the lie of the land, but it is possible to group locks purposely into flights by using cuttings or embankments to "postpone" the height change. Examples: Caen Hill locks, Devizes.

"Flight" is not synonymous with "Staircase" (see below). A set of locks is only a staircase if successive lock chambers share a gate (i.e. do not have separate top and bottom gates with a pound between them). Most flights are not staircases, because each chamber is a separate lock (with its own upper and lower gates), there is a navigable pound (however short) between each pair of locks, and the locks are operated in the conventional way.

However, some flights include (or consist entirely of) staircases. On the Grand Union (Leicester) Canal, the Watford flight consists of a four-chamber staircase and three separate locks; and the Foxton flight consists entirely of two adjacent 5-chamber staircases.

Staircase locks

Staircase of five locks, dating from 1774, at Bingley, England

Where a very steep gradient has to be climbed, a lock staircase is used. There are two types of staircase, "real" and "apparent".

A "real" staircase can be thought of as a "compressed" flight, where the intermediate pounds have disappeared, and the upper gate of one lock is also the lower gate of the one above it. However, it is incorrect to use the terms staircase and flight interchangeably: because of the absence of intermediate pounds, operating a staircase is very different from operating a flight. It can be more useful to think of a staircase as a single lock with intermediate levels (the top gate is a normal top gate, and the intermediate gates are all as tall as the bottom gate). As there is no intermediate pound, a chamber can only be filled by emptying the one above, or emptied by filling the one below: thus the whole staircase has to be full of water (except for the bottom chamber) before a boat starts to ascend, or empty (except for the top chamber) before a boat starts to descend. By building a pair of such lock sets (one used to climb and the other to descend) these difficulties are avoided, as well as enabling a greater traffic volume and reduced wait times.

In an "apparent" staircase the chambers still have common gates, but the water does not pass directly from one chamber to the next, going instead via side ponds. This means it is not necessary to ensure that the flight is full or empty before starting.

Examples of famous "real" staircases in England are Bingley and Grindley Brook. Two-rise staircases are more common: Snakeholme Lock and Struncheon Hill Lock on the Driffield Navigation were converted to staircase locks after low water levels hindered navigation over the bottom cill at all but the higher tides – the new bottom chamber rises just far enough to get the boat over the original lock cill. In China, the recently completed Three Gorges Dam includes a double five-step staircase for large ships, and a ship lift for vessels of less than 3000 metric tons. Examples of "apparent" staircases are Foxton Locks and Watford Locks on the Leicester Branch of the Grand Union.

Instructions for descent of treble staircase, Chesterfield Canal

Operation of a staircase is more involved than a flight. Inexperienced boaters may find operating staircase locks difficult. The key worries (apart from simply being paralysed with indecision) are either sending down more water than the lower chambers can cope with (flooding the towpath, or sending a wave along the canal) or completely emptying an intermediate chamber (although this shows that a staircase lock can be used as an emergency dry dock). To avoid these mishaps, it is usual to have the whole staircase empty before starting to descend, or full before starting to ascend, apart from the initial chamber.

One striking difference in using a staircase of either type (compared with a single lock, or a flight) is the best sequence for letting boats through. In a single lock (or a flight with room for boats to pass) boats should ideally alternate in direction. In a staircase, however, it is quicker for a boat to follow a previous one going in the same direction. Partly for this reason staircase locks such as Grindley Brook, Foxton, Watford and Bratch are supervised by lockkeepers, at least during the main cruising season, they normally try to alternate as many boats up, followed by down as there are chambers in the flight.

As with a flight, it is possible on a broad canal for more than one boat to be in a staircase at the same time, but managing this without waste of water requires expertise. On English canals, a staircase of more than two chambers is usually staffed: the lockkeepers at Bingley (looking after both the "5-rise" and the "3-rise") ensure that there are no untoward events and that boats are moved through as speedily and efficiently as possible. Such expertise permits miracles of boat balletics: boats travelling in opposite directions can pass each other halfway up the staircase by moving sideways around each other; or at peak times, one can have all the chambers full simultaneously with boats travelling in the same direction.

Doubled, paired or twinned locks

Doubled locks. Left lock has boat in it, right lock (center of drawing) is empty. This is on the Erie Canal at Lockport.

Locks can be built side by side on the same waterway. This is variously called doubling, pairing, or twinning. The Panama Canal has three sets of double locks. Doubling gives advantages in speed, avoiding hold-ups at busy times and increasing the chance of a boat finding a lock set in its favour. The Belgian Company SBE Engineering worked on this project. There can also be water savings: the locks may be of different sizes, so that a small boat does not need to empty a large lock; or each lock may be able to act as a side pond (water-saving basin) for the other. In this latter case, the word used is usually "twinned": here indicating the possibility of saving water by synchronising the operation of the chambers so that some water from the emptying chamber helps to fill the other. This facility has long been withdrawn on the English canals, although the disused paddle gear can sometimes be seen, as at Hillmorton on the Oxford Canal. Elsewhere they are still in use; a pair of twinned locks has been opened in 2014 on the Dortmund-Ems Canal near Münster, Germany.[25]

The once-famous staircase at Lockport, New York was also a doubled set of locks. Five twinned locks allowed east- and west-bound boats to climb or descend the 60 feet (18 m) Niagara Escarpment, a considerable engineering feat in the nineteenth century. While Lockport today has two large steel locks, half of the old twin stair acts as an emergency spillway and can still be seen, with the original lock gates having been restored in early 2016.[26]

These terms can also (in different places or to different people) mean either a two-chamber staircase (e.g. Turner Wood Double Locks on the Chesterfield Canal: the same canal has a three-rise staircase called Thorpe Low Treble locks), or just a flight of two locks (as at Thornhill Double Locks on the Calder and Hebble Navigation). Also, "double lock" (less often, "twin lock") is often used by novices on the English canals to mean a wide (14 ft) lock, presumably because it is "double" the width of a narrow lock, and allows two narrow boats going in the same direction to "double up". These are properly known as broad locks.

Stop locks

A "stop" lock is a (very) low-rise lock built at the junction of two (rival) canals to prevent water from passing between them.

During the competitive years of the English waterways system, an established canal company would often refuse to allow a connection from a newer, adjacent one. This situation created the Worcester Bar in Birmingham, where goods had to be transshipped between boats on rival canals only feet apart.

Where a junction was built, either because the older canal company saw an advantage in a connection, or where the new company managed to insert a mandatory connection into its Act of Parliament, then the old company would seek to protect (and even enhance) its water supply. Normally, they would specify that, at the junction, the newer canal must be at a higher level than their existing canal. Even though the drop from the newer to the older canal might only be a few inches, the difference in levels still required a lock – called a stop lock, because it was to stop water flowing continuously between the newer canal and the older, lower one. The lock would be under the control of the new company, and the gates would, of course, "point" uphill – towards the newer canal. This would protect the water supply of the newer canal, but would nevertheless "donate" a lockful of water to the older company every time a boat went through. In times of excess water, of course, the lock "bywash" would continuously supply water to the lower canal.

When variable conditions meant that a higher water level in the new canal could not be guaranteed, then the older company would also build a stop lock (under its own control, with gates pointing towards its own canal) which could be closed when the new canal was low. This resulted in a sequential pair of locks, with gates pointing in opposite directions: one example was at Hall Green near Kidsgrove, where the southern terminus of the Macclesfield Canal joined the Hall Green Branch of the earlier Trent and Mersey Canal. The four gate stop lock near Kings Norton Junction, between the Stratford-upon-Avon Canal and the Worcester and Birmingham Canal was replaced in 1914 by a pair of guillotine lock gates which stopped the water flow regardless of which canal was higher. These gates have been permanently open since nationalisation.[27]

Many stop locks were removed or converted to a single gate after nationalisation in 1948. Hall Green stop lock remains, but as a single lock: the extra lock was removed because the lowering of the T&M's summit pound (to improve Harecastle Tunnel's "air draught" – its free height above the water level) meant that the T&M would always be lower than the Macclesfield. The Hall Green Branch is now considered to be an extension of the Macclesfield Canal, which now meets the T&M at Hardings Wood Junction (just short of the Harecastle Tunnel north portal).

The newer canal was not always at a higher level than the one it joined. For instance, there is a very shallow lock at Autherley Junction, where the 1835 Birmingham and Liverpool canal (now part of the Shropshire Union Canal) met the older Staffordshire and Worcestershire Canal, built in 1772. The Nicholson guide shows that a boater travelling south along the newer canal locks "up" before turning north or south onto the older Staffordshire and Worcestershire Canal – so the Shropshire Union Canal gains a small lockful of water each time a boat passes. However, the gain is tiny since the level difference is so small that it is sometimes possible to open both gates at once.

Round locks

Agde Round Lock

There are several examples where locks have been built to a round plan, with more than two exits from the lock chamber, each serving a different water level. Thus the lock serves both as a way of changing levels and as a junction. The circular plan of the lock allows boats within it to rotate to line up with the appropriate exit gate.

The best known example of such a round lock is the Agde Round Lock on the Canal du Midi in France. This serves as a lock on the main line of the canal and allows access to the Hérault River.[28]

A second French round lock can be found in the form of the, now disused, Écluse des Lorraines, connecting the Canal latéral à la Loire with the River Allier.[29]

Drop locks

Dalmuir drop lock

A drop lock allows a short length of canal to be lowered temporarily while a boat passes under an obstruction such as a low bridge. During canal restoration, a drop lock may be used where it is impractical or prohibitively expensive to remove or raise a structure that was built after the canal was closed (and where re-routing the canal is not possible).

A drop lock can consist of two conventional lock chambers leading to a sump pound, or a single long chamber incorporating the sump – although the term properly applies only to the second case. As the pounds at either end of the structure are at the same height, the lock can only be emptied either by allowing water to run to waste from the sump to a lower stream or drain, or (less wastefully) by pumping water back up to the canal. Particularly in the two-chamber type, there would be a need for a bypass culvert, to allow water to move along the interrupted pound and so supply locks further down the canal. In the case of the single-chamber type, this can be achieved by keeping the lock full and leaving the gates open while not in use.[30]

While the concept has been suggested in a number of cases, the only example in the world of a drop lock that has actually been constructed is at Dalmuir on the Forth and Clyde Canal in Scotland.[31] This lock, of the single chamber type, was incorporated during the restoration of the canal, to allow the replacement of a swing bridge (on a busy A road) by a fixed bridge, and so answer criticisms that the restoration of the canal would cause frequent interruptions of the heavy road traffic. It can be emptied by pumping – but as this uses a lot of electricity the method used when water supplies are adequate is to drain the lock to a nearby burn.[32]

Flood locks

A flood lock is to prevent a river from flooding a connected waterway. It is typically installed where a canal leaves a river. At normal river levels, the lock gates are left open, and the height of the canal is allowed to rise and fall with the height of the river.

However, if the river floods beyond a safe limit for the canal, then the gates are closed (and an extra lock created) until the river drops again. Since this is a true lock it is possible for boats to leave the canal for the flooded river despite the difference in water levels (though this is not likely to be wise) or (more sensibly) to allow boats caught out on the flood to gain refuge in the canal.

Note that if the canal is simply a navigation cut connecting two stretches of the same river, the flood lock will be at the upstream end of the cut (the downstream end will have a conventional lock).

Flood locks which have been used only as flood gates (see below) are often incapable of reverting to their former purpose without refurbishment. That is, where only outer gates are ever closed (probably because a waterway is not a true commercial one, and therefore there is no financial imperative for a boat to venture out onto a flooded river) inner gates soon suffer from lack of maintenance. A good example is on the Calder and Hebble Navigation, where structures referred to in the boating guides as "Flood Locks" are clearly only capable of being used for flood-prevention, not for "penning" boats to or from the river in flood.

Flood gates

Bi-directional flood gates on the Dessel–Turnhout–Schoten Canal, Belgium
Flood gate or stop gate (American usage) on Chesapeake and Ohio Canal. When a flood threatened, boards were put in the lock to divert waters from the canal to the Potomac river. Note winch house on top for the boards.

A flood gate or stop gate is the cheaper equivalent of a flood lock. Only one set of gates exist, and so when the river is higher than the canal, the gates are closed and navigation ceases. These are quite common in the French inland waterways system. Flood gates may also be used to sub-divide long canal pounds or protect, in case of bank collapse, the surrounding area if this is lower than the water level of the canal. They are commonly found at the ends of long embankments and at aqueducts. These gates are often overlooked because they lack balance beams and are only a little higher than normal canal level.

Bi-directional gates and locks

Bi-directional gates at one chamber end of a tidal lock (located in Veurne on the Nieuwpoort–Dunkirk Canal)
Two types of bidirectional locks at the end of the Marne–Rhine Canal in the Independent Port of Strasbourg

Where a lock is tidal (i.e. one side of the lock has water whose level varies with the tide) or where a canal meets a river whose level may vary, the water on the tidal or river side (the "downstream" side) may rise above the water on the normal "upper" side. The "upstream" pointing doors will then fail to do their job, and will simply drift open. To prevent water flowing the wrong way through the lock, there will need to be at least one set of gates pointing in the "wrong" direction. If it is desirable that boats can use the lock in these circumstances, then there needs to be a full set of gates pointing towards the tidal or river side. The usual method is to have gates pointing in opposite directions at both ends of the chamber (alternatively, the "paired stop lock" arrangement of two separate sequential locks pointing in opposite directions would work here – but would require an extra chamber). If navigation is not required (or impossible) at one "extreme" (e.g. allow navigation above mid-tide, but just prevent the canal emptying at low tide) then it is only necessary to have one set of bi-directional gates.

Tidal locks

Sea lock at Bude, Cornwall

A sea lock is one that connects a canal or river directly with an estuary or ocean. A tidal lock is generally any lock that connects tidal with non-tidal water. This includes a lock between a tidal river and the non-tidal reaches, or between a tidal river and a canal, or a sea lock. However, the term usually refers specifically to a lock whose method of operation is affected by the state of the tide. Examples:

  • A canal joining a river whose levels are always lower than the canal. All that is needed is an ordinary lock, with the gates pointing up the canal. The lock is used normally so long as the tide is high enough to float boats through the lower gates. If near low tide the lock becomes unusable, then the gates can be barred (and simply become a "reverse flood gate", holding water in the canal). This arrangement also applies to some sea locks (e.g. Bude Canal).
  • A canal joining a river which is normally below it, but which can rise above it (at very high tides, or after heavy rain). One pair of gates can be made bidirectional, i.e. the inward-pointing gates would be supplemented by a pair pointing out to the river. When the river is higher than the canal, the normal gates would just drift open, but the additional pair of gates can be closed to protect the canal, and prevent navigation to the river. In effect, we have simply added a flood gate.
  • As above, but where it is safe to navigate even when the river is higher than the canal. The lock will be fully bidirectional (two pairs of oppositely pointing gates at each end) to allow boats to pass at any normal river levels. At extreme low or high tides unsuitable for navigation, the appropriate sets of gates are barred to prevent passage.

Inlet locks

Inlet lock (left) from feeder canal, regulates water from the Potomac river into the C&O canal. Lift lock (right) allows boats to continue up the canal in a normal fashion.

An inlet lock is to regulate water from a feeder canal or a river into the main canal. In some cases, the inlet lock may double as a lift lock to allow boats into the river slackwater. Note that in the example on the right, the feeder canal was originally George Washington's Little Falls Skirting Canal which was part of the Potomac Company's canals, later re-purposed as a feeder canal for the Chesapeake and Ohio Canal.

Very large locks

Berendrecht Lock (right) and Zandvliet Lock (left), located at the entrance to the Port of Antwerp (top) from the Scheldt (foreground)
Barges at a lock on the Mississippi River

The world's largest lock was, until 2016, the Berendrecht Lock, giving access to the Port of Antwerp in Belgium. In 2016 the Kieldrecht Lock in the same port became the largest. The lock is 500 m (1,600 ft) long, and 68 m (223 ft) wide and drops 17.8 m (58 ft), and has four sliding lock gates. The size of locks cannot be compared without considering the difference in water level that they are designed to operate under. For example, the Bollène lock on the River Rhône has a fall of at least 23 m (75 ft), the Leerstetten, Eckersmühlen and Hilpoltstein locks on the Rhine–Main–Danube Canal have a fall of 24.67 m (80.9 ft), each and the Oskemen Lock on the Irtysh River in Kazakhstan has a drop of 42 m (138 ft).[33] The total volume of water to be considered in any lock equals the product of its length, breadth and the difference in water levels. Lock staircases are used in an attempt to reduce the total volume of water required in relation to the amount of useful work done. The useful work done relates to the weight of the vessel and the height it is lifted. When a vessel is lowered the consumption of potential energy of the water consumed is considered. An alternative to locks is a boat lift; facilities of this type, e.g. the Anderton boat lift or the Strépy-Thieu boat lift in Belgium, do not rely on the consumption of water as the primary power source, are powered by motors and are designed to consume a minimum amount of water.

The 29 locks on the Mississippi River are typically 600 feet (180 m) long while tug and barge combinations are as much as 1,200 feet (370 m) long consisting of as many as 15 barges and one tug. In these cases, some of the barges are locked through, using partially opened lock valves to create a current to pull the un-powered barges out of the lock where they are tied up to wait for the rest of the barges and the tug to pass through the lock. It can take as much as an hour and a half to pass the lock.

The gates of a Guillotine lock work in a way similar to a sluice gate, but most canal lock gates are hinged to swing like doors.

Hiram M. Chittenden Locks

Every November, the large lock of the Hiram M. Chittenden Locks (better known locally as the "Ballard Locks" in reference to the Seattle neighborhood they are located in) was emptied for maintenance, as seen in the November 2004 pictures below. This provides an opportunity to visualize how a lock works without the water obscuring the bottom of the lock. For reference, the picture far left shows the lock in operation, with a tug and a barge (loaded with sand and gravel) waiting for the gates to open. In the bottom left corner of the picture may be seen the cut-out in the side wall that contains the gate when open.

The lock has three pairs of gates, one pair at each end and one pair in the middle so that half the length of the lock can be used when the whole length is not required, thus saving water. The barely visible person walking along the bottom of the lock in the second picture gives an indication of the vast size of this lock. In both pictures of the end gates, the string of penstock openings are visible along the sides at the bottom. The water entering and leaving the lock flows by gravity through these openings. It requires around 15 minutes to fill or empty the lock.

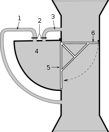
Van gate


A van gate
1: Tube connecting the chamber to the high water side of the sluice
2: Gates to regulate the water level in the chamber
3: Tube connecting the chamber to the low water side of the sluice
4: The chamber in which the water level can be controlled
5 Door with larger surface
6: Door with smaller surface.

This type of gate was a Dutch invention in the early 19th century. The Van gate has the special property that it can open in the direction of high water solely using water pressure. This gate type was primarily used to purposely flood certain regions, for instance in the case of the Hollandic Water Line. Nowadays this type of gate can still be found in a few places, for example in Gouda.

The design of a Van gate is shown in the image on the lower right. When the tube connecting the separate chamber with the high water level side of the sluice is closed and the connection with the low water level side opened, the water level in the separate chamber will drop to the level on the low water level side of the sluice. The surface area of the gate separating the chamber from the high water level side of the sluice is larger than that of the gate closing the sluice. This results into a net force that opens up the sluice.

History and development

Dams and weirs

In ancient times river transport was common, but rivers were often too shallow to carry anything but the smallest boats. Ancient people discovered that rivers could be made to carry larger boats by making dams to raise the water level. The water behind the dam deepened until it spilled over the top creating a weir. The water was then deep enough to carry larger boats. This dam building was repeated along the river, until there were "steps" of deep water.

Flash locks

The development of dams and weirs created the problem of how to get the boats between these "steps" of water. An early and crude way of doing this was by a flash lock. A flash lock consisted essentially of a small opening in the dam, which could be quickly opened and closed. On the Thames in England, this was closed with vertical posts (known as rymers) against which boards were placed to block the gap.

When the gap was opened, a torrent of water would spill out, carrying a "downstream" boat with it, or allowing an "upstream" boat to be man hauled or winched through against the flow. When the boat was through, the opening would be quickly closed again. The "gate" could also be opened to release a 'flash' downstream to enable grounded boats to get off shoals, hence the name.

This system was used extensively in Ancient China and in many other parts of the world. But this method was dangerous, and many boats were sunk by the torrent of water. Since this system necessarily involved lowering the level in the pound, it was not popular with millers who depended on a full head of water to operate their equipment. This led to constant battles, both legal and physical, between the navigation and milling interests, with rivers being closed to navigation if there was any shortage of water. It was mainly this conflict, which led to the adoption of the pound lock in medieval China, as this means that relatively little water is consumed by navigation.

Staunch

A more sophisticated device was the staunch or water gate, consisting of a gate (or pair of mitred gates) which could be closed and held shut by water pressure when the river was low, to float vessels over upstream shallows at times of low water. However, the whole upstream head of water had to be drained (by some auxiliary method approaching modern sluices) before a boat could pass. Accordingly, they were not used where the obstacle to be passed was a mill weir.

Pound lock

Model of early river pound lock, constructed in Lankheet water park, Netherlands

The natural extension of the staunch was to provide an upper gate (or pair of gates) to form an intermediate "pound" which was all that need be emptied when a boat passed through. This type of lock, called a pound lock was known in Imperial China and Europe.[34]

Pound locks were first used in medieval China during the Song Dynasty (960–1279 AD). The Songshi or History of the Song Dynasty, volume 307, biography 66, records how Qiao Weiyue, a high-ranking tax administrator, was frustrated at the frequent losses incurred when his grain barges were wrecked on the West River near Huai'an in Jiangsu. The soldiers at one double slipway, he discovered, had plotted with bandits to wreck heavy imperial barges so that they could steal the spilled grain. In 984 Qiao installed a pair of sluice-gates two hundred and fifty feet apart, the entire structure roofed over like a building. By siting two staunch gates so close to one another, Qiao had created a short stretch of canal, effectively a pound-lock, filled from the canal above by raising individual wooden baulks in the top gate and emptied into the canal below by lowering baulks in the top gate and raising ones in the lower.[3]

The turf-sided Monkey Marsh Lock on the Kennet & Avon Canal at Thatcham

Turf-sided lock

A turf-sided lock is an early form of canal lock design that uses earth banks to form the lock chamber, subsequently attracting grasses and other vegetation, instead of the now more familiar and widespread brick, stone, or concrete lock wall constructions. This early lock design was most often used on river navigations in the early 18th century before the advent of canals in Britain. The sides of the turf-lock are sloping so, when full, the lock is quite wide. Consequently, this type of lock needs more water to operate than vertical-sided brick- or stone-walled locks. On British canals and waterways most turf-sided locks have been subsequently rebuilt in brick or stone, and so only a few good examples survive, such as at Garston Lock, and Monkey Marsh Lock, on the Kennet and Avon Canal.[35] Both these locks are in the canalised river section of the canal and so are over supplied with water.

Use of water

The main problem caused by locks is that, each time a lock goes through one fill–empty cycle, a lockful of water (tens of thousands up to millions of litres) is released to the lower pound. In more simplistic terms, on a canal where only one boat will fit into a lock, a boat travelling from the summit pound to the lowest pound is accompanied on its journey by one 'personal' lockful of water. A boat going the other way also transfers a lockful of water from the summit pound to the lowest pound. To prevent the canal from running dry, some method must be used to ensure that the water supply at the canal summit is constantly replenished at the rate that the water is being drained downwards. This is, of course much more of a problem on an artificial canal crossing a watershed than on a river navigation.

Design

When planning a canal, the designer will attempt to build a summit level with a large reservoir, or one supplied by an artificial watercourse from a distant source, or one as long as possible (to act as its own reservoir) or which cuts across as many springs or rivers as possible (or all of these). Driving the summit level through a deep cutting or tunnel may cut through the water table as well as underground sources of water.

Pumping

Where it is clear that natural supply will not be sufficient to replenish the summit level at the rate that water will be used (or to allow for unexpected periods of drought) the designer may plan for water to be back-pumped back up to the summit from lower down. Such remedies may of course be installed later, when poor planning becomes apparent, or when there is an unforeseeable increase in traffic or dearth of rain. On a smaller scale, some local pumping may be required at particular points (water is continually recycled through some locks on the Kennet and Avon canal).

Water saving basins

Water-saving basins to the left of the new Agua Clara Locks, Panama Canal

A way of reducing the water used by a lock is to give it one or multiple reservoirs, whose levels are intermediate between the upper and lower pounds. These reservoirs can store the water drained from the lock as a boat descends, and release it to fill the next time a boat ascends. This saves half the amount of water lost downhill in each fill–empty cycle. Generally these reservoirs are called "saving basins".

Installing a single side pond will save 1/3 of the water, whereas three side ponds will save 60% of the water: the first 1/5 of the water goes into the top pond, the 2nd 1/5 into the middle pond, the 3rd 1/5 into the bottom pond – and 2/5 is wasted at each passage (assuming the area of each pond equals the area of the lock). The formula for side ponds of optimal altitude and depth, with area of each pond, , and area of the lock, , is:

.[36]

Diagram of water saving basins (descending)
Diagram of water saving basins (ascending)

For example, the Hindenburg-lock (in Hannover, Germany, built 1919–1928) has two lock chambers of 225 m length, each of which would use 42,000 m3 of water for a full locking cycle. Due to the use of 10 water saving basins, only 10,500 m3 of water are used. A more recent example is the Rhine–Main–Danube Canal with 13 saving locks out of a total of 16 locks.

Map showing extended intermediate pounds at Caen Hill locks

On English canals, these reservoirs are called "side ponds". The Droitwich Canal, reopened in 2011, has a flight of three locks at Hanbury which all have operational side ponds.[37] Side ponds were also installed on the Grand Union Canal and the Coventry Canal, among others. They are now out of use, and in some cases have been filled in, because British Waterways considered that it was too easy to misuse them and flood the surrounding area. On some flights of locks with short intermediate pounds, the pounds are extended sideways – in effect to provide a reservoir to ensure that the pound does not run dry (in case, for instance, the lock below leaks more than the lock above). These extended intermediate pounds are sometimes confused with side ponds.

Alternatives

As well as the "static" approaches mentioned earlier (various types of contouring, excavating, and spanning), there were many ingenious "dynamic" solutions, mostly variations on the boat lift or the inclined plane. These tend to be more expensive to install and operate, but offer faster transit and waste less water.

Inclined plane

Boat in cradle, at the top of inclined plane on the Morris Canal.

An inclined plane consists of a cradle (to hold a barge) or caisson (a box full of water in which a barge can float) which moves on rails sideways up a slope from one waterway to the other. Since the box is "wet" (filled with water), Archimedes' principle ensures that the caisson always weighs the same, regardless of the size of boat being carried (or even if it contains only water). This makes for easy counterbalancing by a fixed weight or by a second caisson. The motive power may be steam or hydraulic, or may come from overbalancing the top caisson with extra water from the upper waterway.

There are no working waterway inclined planes in the UK at the moment, but the remains of a famous one can be seen at Foxton in Leicestershire on the Leicester arm of the Grand Union Canal. The plane enabled wide-beam boats to bypass the flight of ten narrow locks, but failure to make improvements at the other end of the arm and high running costs led to its early demise.[38] There are plans to restore it, and some funding has been obtained.[39]

Marine railway

A marine railway is similar to a canal inclined plane in that it moves boats up or down a slope on rails. However, the vessel is carried in a dry carrying frame, or cradle, rather than in a water-filled caisson. The principle is based on the patent slip, used for hauling vessels out of the water for maintenance.

In operation, a boat is navigated into the carrying frame, which has been lowered into the water. The boat is secured to the cradle, possibly by raising slings under the hull using hydraulics, and the cradle is hauled out of the water and up the hill with a cable. At the top of the slope, the cradle is lowered into the upper waterway, and the boat released. As the boat is not floating, Archimedes' principle does not apply, so the weight lifted or lowered by the device varies – making counterbalancing (by dead weights or a second boat carriage) more difficult.

In some locations, such as the Big Chute Marine Railway on the Trent-Severn Waterway, in Ontario, Canada, a marine railway was installed as a temporary measure at the planned site of a flight of conventional locks. In this and several other cases, the locks were never built, and the marine railway continued to serve on a permanent basis. Where there is a steep rise in the land a marine railway may be more effective than multiple locks, such as on the Elbląg Canal.

Boat lift

The Falkirk Wheel, the world's first rotating boat lift, acts as the centrepiece of the restoration of the Forth and Clyde and Union Canals. The Wheel replaced a flight of locks which formerly connected the canals and which were filled in in 1930. It was the winning design in a competition to design a new lock. Visitors can now take a boat trip on the Wheel and be lifted over 100 feet (30 m) in a few minutes compared to the time it took when the original lock staircase operated.

The Victorian Anderton Boat Lift, the world's first vertical boat lift, linking the Trent and Mersey Canal and the River Weaver in Cheshire, was reopened in 2002. The world's highest boat lift in Strépy-Thieu in Belgium raises or lowers 1,350 tonnes boats by 73.15 metres.

Another derivative is the Peterborough lift lock which is a boat lift located on the Trent Canal in the city of Peterborough, Ontario, Canada and is Lock 21 on the Trent-Severn Waterway. Its dual lifts are the highest hydraulic boat lifts in the world, rising 19.8 m (65 ft). This was a considerable accomplishment when conventional locks usually only had a 2 m (6.6 ft) rise. Each lift has a capacity of 1,300 tonnes. The basins are 140 feet (43 m) long, 33 feet (10 m) wide and 9 feet 10 inches (3.00 m) deep. The vertical distance lifted is 65 feet (20 m). The Trent-Severn has another similar lift lock at Kirkfield, with basins of the same dimension, but which lifts over a smaller vertical distance.

Caisson lock

Operation of caisson lock

Around 1800 the use of caisson locks was proposed by Robert Weldon for the Somerset Coal Canal in England. In this underwater lift, the chamber was 80 ft long and 60 ft (18 m) deep and contained a completely enclosed wooden box big enough to take a barge. This box moved up and down in the 60 ft (18 m) deep pool of water. Apart from inevitable leakage, the water never left the chamber, and using the lock wasted no water. Instead, the boat entered the box and was sealed in by the door closing behind it, and the box itself was moved up or down through the water. When the box was at the bottom of the chamber, it was under almost 60 feet (18 m) of water – at a pressure of three atmospheres, in total. One of these "locks" was built and demonstrated to the Prince Regent (later George IV), but it had various engineering problems and the design was not put into use on the Coal Canal.[40][41]

Hydro-pneumatic canal lift

Possibly inspired by Weldon's caisson lock, William Congreve in 1813 patented a "hydro-pneumatic double balance lock" in which two adjacent locks containing pneumatic caissons could be raised and lowered in counterbalance by the movement of compressed air from one caisson to the other. In about 1817 the Regents Canal Company built one of these locks at the site of the present-day Camden Lock, north London. Here the motivation was, again, water supply problems. The company insisted on various modifications to Congreve's design; the resulting installation proved to be unsatisfactory, and was soon replaced by conventional locks.[42][43]

Shaft lock

Entrance to Minden shaft lock

Looking superficially similar to the caisson lock is the shaft lock. Shaft locks consist of a deep shaft with conventional upper gates. The lower gates are reached through a short tunnel. The gates only close off this approach tunnel so do not have to reach the full height of the lock. Notable examples have been built at Saint Denis (Paris, France), Horin (near Melnik, Czech Republic) and Anderten (Hannover Germany).[44] The shaft lock at Minden 52°18′23″N 8°55′11″E / 52.30639°N 8.91972°E has a fall of 12.7 metres (42 ft) and has eight tanks linked in pairs to the lock chamber.[45] As the lock is emptied water is run into each chamber in turn, for filling the water is released from the chambers thus saving the waste of a complete lockfull of water. An earlier attempt at a shaft lock had been made at Trollhättan in Sweden on the line of the present Göta canal. The fall would have been 16 metres (52 ft), astonishing in 1749. However the approach tunnel proved to be unusable in times of flood and the shaft lock was replaced by a 2-rise staircase in 1768.[46]

Diagonal lock

This new concept in lock design has yet to be installed on any waterway. It is basically a shaft lock with a diagonal shaft. The proposal is for a long tube of reinforced concrete, of a size to accommodate the boats being lifted, to be built on the slope between the upper and lower levels. The bottom of the tube is sealed with a strong watertight door, but there is a single pair of conventional lock gates at the top, installed a boat's length from the far wall of the tube. The change in level is achieved by filling the tube with water from the top pound, or by draining. The vessel floats on the surface of the water, with a guide float or pontoon, shaped to fit the tube, floating alongside to keep it clear of the walls. Side ponds, piped from the main tube, are incorporated to save water. In replacing a traditional flight or staircase of locks, a considerable time saving is anticipated. It differs from the similar caisson lock design in that the boat does not have to be carried in a submerged chamber.

The "Diagonal Lock Advisory Group" has identified several sites in Britain where the new design could be installed, either on new waterways or canals under restoration.[47] Projects under consideration include the restoration of the Lancaster Canal to Kendal and the proposed new branch of the Grand Union Canal between Bedford and Milton Keynes.

Three Gorges Dam model view. A pair of five locking steps is at center with a ship lift to the left

A combined system – the Three Gorges Dam

At the Three Gorges Dam on the Yangtze River (Chang Jiang) in China there are two stairsteps of five large ship locks (each 300 m long and 35 m wide) for ten-thousand-tonne ships. In addition to this there will be a boat lift (a large elevator) capable of moving a three-thousand-ton ship vertically in one motion. The locks and the boat lift provide a total lift of up to 113 metres.

Ship sizes named after locks

Locks restrict the maximum size of ship able to navigate a waterway, and some key canals have given rise to the name of standard ship sizes, such as the Panamax and the Seawaymax.

See also

References

  1. ^ Needham, J (1971). "Civil Engineering and Nautics". Science and Civilisation in China. Volume 4:3. Cambridge: Cambridge University Press. pp. 350–51.
  2. ^ Needham, Volume 4, Part 3, 351–52.
  3. ^ a b c Needham, Volume 4, Part 3, 351.
  4. ^ a b Needham, Volume 4, Part 3, 357.
  5. ^ Needham, Volume 4, Part 3, 358.
  6. ^ "Second Lock". Images of England. Archived from the original on 16 November 2007. Retrieved 4 September 2006.
  7. ^ Allsop, Niall (1987). The Kennet & Avon Canal. Bath: Millstream Book. ISBN 0-948975-15-6.
  8. ^ "Final Report of the International Commission for the Study of Locks". Google Books. Retrieved 20 May 2013.
  9. ^ "The ESB lock at Ardnacrusha". Irish Waterways History. Retrieved 2012-03-23.
  10. ^ "Reach". Oxford English Dictionary (Second ed.). Oxford, England: Oxford University Press. 1989. ...the portion of a canal between two locks, having a uniform level
  11. ^ Merriam-Webster Dictionary, definition of miter sill, Retrieved Jan. 28, 2015.
  12. ^ "Lock". UXL Encyclopedia of Science. Retrieved 2013-06-20.
  13. ^ Garrity, Richard (1977). Canal Boatman My Life on Upstate Waterways. Syracuse, NY: Syracuse University Press. p. 38. ISBN 0-8156-0139-5.
  14. ^ Unrau p. 336
  15. ^ a b c Garrity, Richard (1977). Canal Boatman My Life on Upstate Waterways. Syracuse, NY: Syracuse University Press. p. 39. ISBN 0-8156-0139-5.
  16. ^ Kytle, Elizabeth. Home on the Canal. Seven Locks Press, 1983. p. 207
  17. ^ Garrity, Richard. p. 40
  18. ^ Kytle, Elizabeth. Home on the Canal. 1996. ISBN 0801853281, p. 133
  19. ^ Garrity, Richard. p. 41
  20. ^ "p. 812" (PDF). nps.gov. Retrieved 21 September 2018.
  21. ^ Kytle, Elizabeth. Home on the Canal. Seven Locks Press, 1983, ISBN 978-0-932020-13-0 pp. 71–72
  22. ^ Edwin C. Bearss. "The Composite Locks" (PDF). [US Department of the Interior, National Park Service]. Retrieved 2013-05-24., p. 15
  23. ^ Cameron, A.D. (2005). "10 Working the canal in the 1820s". The Caledonian Canal (4 ed.). Edinburgh: Birlinn. ISBN 9781841584034.
  24. ^ Silva, S., Lowry, M., Macaya-Solis, C., Byatt, B., & Lucas, M. C. (2017). Can navigation locks be used to help migratory fishes with poor swimming performance pass tidal barrages? A test with lampreys. Ecological Engineering, 102, 291–302.
  25. ^ "Zwillingsschleuse Münster" (in German).
  26. ^ "Governor Cuomo Announces Funding For Restoration of Lockport Locks". ny.gov. 17 August 2015. Retrieved 21 September 2018.
  27. ^ Birmingham's Canals, Ray Shill, 1999, 2002, ISBN 0-7509-2077-7
  28. ^ "Canal du Midi". Afloat in France. grehanman guides. Retrieved 2010-11-23.
  29. ^ "Canal lateral a la Loire". Afloat in France. grehanman guides. Retrieved 2010-11-24.
  30. ^ "Dalmuir Drop Lock". Retrieved 22 October 2007.
  31. ^ voltimum. "Mitsubishi helps breath new life into important canal routes". Retrieved 23 October 2007.
  32. ^ "Clydebank Drop Lock". Gentles.info. Retrieved 2011-08-05.
  33. ^ "Latest". Waterways World. Retrieved 2011-08-05.
  34. ^ Frank Gardner Moore "Three Canal Projects, Roman and Byzantine." American Journal of Archaeology, 54, (1950), 97–111 (99)
  35. ^ "British Waterways 'Waterscape' website". Archived from the original on 3 April 2012. Retrieved 11 January 2011.
  36. ^ de:Sparschleuse#Die Funktionsweise einer Sparschleuse
  37. ^ Smithett, Robin (April 2012). "A bit on the side". Waterways World. ISSN 0309-1422.
  38. ^ Nicholson Waterways Guide, Volume 3, Harper Collins Publishers, ISBN 0-00-713666-8
  39. ^ "Foxton Inclined Plane Trust: Restoration". Fipt.org.uk. Archived from the original on 2011-09-27. Retrieved 2011-08-05.
  40. ^ "The Somerset Coal Canal". Bath Royal Literary and Scientific Institution. Archived from the original on 14 November 2006. Retrieved 6 October 2006.
  41. ^ "History of the Caisson Lock On the Somersetshire Coal Canal". The Somersetshire Coal Canal (Society). Archived from the original on 11 October 2006. Retrieved 6 October 2006.
  42. ^ "Congreve's Hydro-Pneumatic Canal Lift – A Humbug!". London Canals. Archived from the original on 27 September 2013. Retrieved 25 September 2013.
  43. ^ Faulkner, Alan (2005): The Regent's Canal: London's Hidden Waterway. Waterways World Ltd. ISBN 1-870002-59-8.
  44. ^ Hughes, Stephen (ed.). "The International Canal Monuments List" (PDF). ICOMOS (the International Council on Monuments and Sites). Archived from the original (PDF) on 2013-08-10. Retrieved 2015-09-06.
  45. ^ Hadfield, Charles (1986). World Canals: Inland Navigation Past and Present. David & Charles. p. 162. ISBN 0-7153-8555-0.
  46. ^ Hadfield (1986) p. 55.
  47. ^ Fogarty, Terry (2008). "Diagonal Lock – Overview". Archived from the original on 15 February 2017. Retrieved 6 November 2016.

External links

This article is copied from an article on Wikipedia® - the free encyclopedia created and edited by its online user community. The text was not checked or edited by anyone on our staff. Although the vast majority of Wikipedia® encyclopedia articles provide accurate and timely information, please do not assume the accuracy of any particular article. This article is distributed under the terms of GNU Free Documentation License.

Copyright © 2003-2025 Farlex, Inc Disclaimer
All content on this website, including dictionary, thesaurus, literature, geography, and other reference data is for informational purposes only. This information should not be considered complete, up to date, and is not intended to be used in place of a visit, consultation, or advice of a legal, medical, or any other professional.