Wikipedia

Tuyere

Also found in: Dictionary, Encyclopedia.
(redirected from tuyère)
Picture of the outlet of a tuyere
A tuyere being seen from inside of a blast furnace.

A tuyere or tuyère (French pronunciation: ​[tɥijɛʁ]; English: /twˈjɛər/)[1][2] is a tube, nozzle or pipe through which air is blown into a furnace or hearth.[3]

Air or oxygen is injected into a hearth under pressure from bellows or a blowing engine or other devices. This causes the fire to be hotter in front of the blast than it would otherwise have been, enabling metals to be smelted or melted or made hot enough to be worked in a forge, though these are blown only with air. This applies to any process where a blast is delivered under pressure to make a fire hotter.

The term (like many technical terms relating to ironmaking) was introduced to England from French with the new technology of the blast furnace and finery forge in around 1500, and was sometimes anglicised as tue-iron or tue iron.[4]

Following the introduction of hot blast, tuyeres are often water-cooled.[3]

Examples

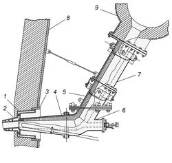
General arrangement of the Tuyere (2), Tuyere cooler (1), Tuyere-cooler holder (3), Blowpipe (4) and Bustle Pipe (9) in a Blast Furnace.[5]
  • A bloomery normally had one tuyere.
  • Early blast furnaces also had one tuyere, but were fed from bellows perhaps 12 feet (3.7m) long operated by a waterwheel. During the Industrial Revolution, the blast began to be provided using steam engines, initially Watt engines working blowing cylinders. Improvements in foundry practice enabled gas-tight cast iron pipes to be produced, enabling one engine to deliver blast to several sides of a furnace, through multiple tuyeres.
  • A finery forge contained finery and chafery hearths, usually one of the latter and one to three of the former. Each hearth was equipped with its own set of bellows, blowing into it through a tuyere.
  • The blacksmith's hearth at their forge has a tuyere, often blown by foot-operated bellows.
  • Tuyeres were also used in smelting lead and copper in smeltmills.
  • Modern blast furnaces may have up to 42[6] tuyeres, through which the hot blast is injected in the furnace. They are usually made from copper and cooled with a water jacket to withstand the extreme temperatures.

References

  1. ^ "Tuyere | Define Tuyere at Dictionary.com". Dictionary.reference.com. Retrieved September 24, 2016.
  2. ^ "Tuyere | Definition of Tuyere by Merriam-Webster". Merriam-webster.com. May 31, 2016. Retrieved September 24, 2016.
  3. ^ a b W. K. V. Gale, The iron and Steel industry: a dictionary of terms (David and Charles, Newton Abbot 1972), 216–217.
  4. ^ "Tue Iron | Definition of Tue Iron by Merriam-Webster". Merriam-webster.com. May 31, 2016. Retrieved September 24, 2016.
  5. ^ "Blast furnace tuyere and tuyere stocks". ispatguru.com/. Retrieved June 3, 2017.
  6. ^ "World's Largest Blast Furnace Starts". Foundrymag.com. August 3, 2009. Retrieved November 24, 2019.
This article is copied from an article on Wikipedia® - the free encyclopedia created and edited by its online user community. The text was not checked or edited by anyone on our staff. Although the vast majority of Wikipedia® encyclopedia articles provide accurate and timely information, please do not assume the accuracy of any particular article. This article is distributed under the terms of GNU Free Documentation License.

Copyright © 2003-2025 Farlex, Inc Disclaimer
All content on this website, including dictionary, thesaurus, literature, geography, and other reference data is for informational purposes only. This information should not be considered complete, up to date, and is not intended to be used in place of a visit, consultation, or advice of a legal, medical, or any other professional.